一、概述:
1.1适用于消防头盔下颏带抗拉强度试验;
1.2判定标准:下颏带延伸长度不超过20mm,不应出现下颏带断裂、连接件脱落及搭扣松脱现象;
1.3消防头盔试验方法:将头盔置于支承台架的头模上,下颏带穿过模拟下颏并系紧,开始加载砝码至45 N±5 N,保持3s,随即确定标尺的起始零位,然后每隔1min加载100N的力,逐步加载至450 N 士5 N ,保持 1 m i n,随即读出标尺指示的伸长量,并检査下颏带的状况。
二、符合标准:
2.1符合XF44-2015《消防头盔》第5.3.9节“下颏带抗拉强度”试验。
三、主要技术参数:
3.1试验装置:
3.1.1组成:由支承台架、头模、标尺、砝码、加载机构及模拟下颏装置组成;
3.1.2头模:符合GB/T2812-2006附录 A 的要求;
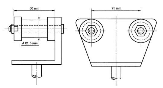
3.1.2模拟下颏装置:由二个中心相距 75mm,相互平行且直径为 12.5mm ±0.5mm的刚性滚柱组成,固定在一个刚性的支承台架上;
3.2测距装置:
3.2.1采用标尺测距;
3.2.2精度:±1mm
3.3模拟下颏装置:有两只中心相距 75mm,直径为 12.7mm 的滚柱组成;

模拟下颏装置
......
......
了解更多设备信息联系我们18051845756微信同号